
WRER-12化工用固定螺紋套管熱電偶簡介
本系列產品包括統設型熱電偶熱電阻和引進美國羅斯蒙特技術生產的鉑電阻,用于高溫高壓的熱套式熱電偶和用于合成塔、油罐的多對多點式熱電偶等產品,上海自動化儀表三廠生產的WRER-12化工用固定螺紋套管熱電偶,采用防水接線盒,適合石油化工的環境要求,固定螺紋和法蘭標準符合JB/T5219-91和JB/T5583-91的要求,固定法蘭除符合上述標準的同時,還增加了B型、C型和D型三種不同的焊接方法,來滿足不同用戶的需要。
WRER-12化工用固定螺紋套管熱電偶主要技術參數
◆測量范圍:0-600℃
◆分度號:E分度
◆精度等級:Ⅰ級(±1.5℃或±0.004|t|)Ⅱ級(±2.5℃或±0.0075|t|)
◆熱電偶類別:鎳鉻-銅鎳,可為雙支
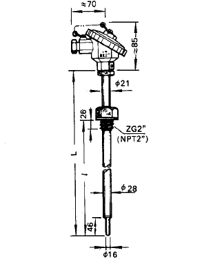
◆保護管材質:不銹鋼304,321或其它
◆保護管插深:230mm,430mm,630mm,1130mm等
◆熱響應時間:T0.5<60S(在溫度出現階躍變化時,熱電偶的輸出變化至相當于該變化的50%,所需要的時間稱為熱響應時間,用T0.5表示)。
◆熱電偶公稱壓力:≤9.8MPa(一般是指在室溫情況下保護管所能承受的靜態外壓而不破裂。實際上容許工作壓力不僅與保護管材料、直徑壁厚有關,還與其結構形式,安裝方法,置入深度以及被測介質的流速和種類等有關)。
◆熱電偶流速:≤1m/s
◆熱電偶絕緣電阻(常溫):常溫絕緣電阻的試驗電壓為直流500V±50V,大氣條件為溫度15~35℃,相對濕度45%,大氣壓力86~106kPa,它的常溫絕緣值應≥100MΩ。
◆執行標準:JB/T9238-1999和JB/T8622-1997標準
熱電偶工作原理
當有兩種不同的導體,其兩端相互焊接時,兩結點處的溫度不同,一端溫度為測量端或工作端,另一端溫度為自由端或冷端,當兩端溫度存在溫差時,就會在回路時產生熱電流,配上顯示儀表,儀表上就能顯示出熱電偶所產生的熱電動勢的對應溫度值。熱電偶的熱電動勢將隨著測量端或工作端的溫度升高而增長,熱電偶的熱電動勢的大小只和導體材質及兩端溫差有關,和導體的長度、直徑無關。
熱電偶安裝圖片
◆WRER-12化工用固定螺紋套管熱電偶



客服1