
WZP-634固定螺紋錐形套管式熱電阻簡介
套管式熱電偶熱電阻作為溫度測量儀表可與顯示儀表配套實現溫度的顯示和控制,上海自動化儀表三廠生產的WZP-634固定螺紋錐形套管式熱電阻可以直接測量和控制生產過程中-200-500℃范圍的氣體,液體和蒸汽的溫度,不僅可用于發電廠管道的溫度測量,同時也可用于其它工業部門生產過程中的溫度測量。
WZP-634固定螺紋錐形套管式熱電阻主要技術參數
◆測量范圍:-200~500℃
◆分度號:Pt100
◆精度等級:A級 ±(0.15℃+0.002|t|),B級 ±(0.30℃+0.005|t|)
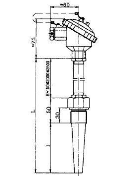
◆保護管直徑:Φ28轉Φ16
◆保護管材質:不銹鋼304,321,316,其它材質須注明
◆熱電阻接線:三線制接線,四線制接線。
◆保護管插深:50mm,1100mm,150mm,200mm,250mm,300mm,350mm,400mm等
◆熱響應時間:T0.5≤120S(在溫度出現階躍變化時,熱電阻的輸出變化至相當于該變化的50%,所需要的時間稱為熱響應時間,用T0.5表示)。
◆熱阻阻公稱壓力:≤10MPa(一般是指在室溫情況下保護管所能承受的靜態外壓而不破裂。實際上,容許工作壓力不僅與保護管材料、直徑壁厚有關,還與其結構形式,安裝方法,置入深度以及被測介質的流速和種類等有關)。
◆熱阻阻標稱流速:≤9m/s
◆熱電阻最小置入深度:l=50mm或應不小于其保護管外徑的5倍(特殊產品例外)。
◆熱電阻自熱影響:通過熱電阻中測量電流5mA時,測得的電阻增量換算成溫度值應不大于0.30℃。
◆熱電阻絕緣電阻:常溫絕緣電阻的試驗電壓可取直流10~100V任意值,環境溫度在15~35℃范圍內,相對濕度應不大于80%。常溫絕緣電阻值應不小于100MΩ。
◆執行標準:JB/T8622-1997標準。
套管式熱電阻結構原理
鉑熱電阻是一種溫度傳感器,它是利用鉑絲在溫度變化時自身電阻也隨著變化的特性來測量溫度的,鉑電阻是由感溫元件、不銹鋼外保護管、接線盒以及各種用途的固定裝置組成,有雙支和單支元件兩種規格,雙支鉑電阻可以同時輸出二組相同電阻信號供使用,不銹鋼保護管不但具有抗腐蝕性能,而且具有足夠的機械強度,保證鉑電阻能安全地使用在各種場合。
套管式熱電阻型號舉例:
WZP-634表示分度號為Pt100的固定螺紋帶防水接線盒錐形套管式熱電阻
WZP2-634表示分度號為Pt100的固定螺紋帶防水接線盒雙支錐形套管式熱電阻
套管式熱電阻安裝圖片
◆WZP-634固定螺紋錐形套管式熱電阻(ZG1"或1"NPT)



客服1